技术参数
|
工作介质
|
空气等非腐蚀性气体
|
|||||
|
介质温度 ℃
|
≤60
|
|||||
|
工作压力 MPa
|
1.0
|
|||||
|
工作压差 MPa
|
-0.1~0
|
|||||
|
电源电压
|
AC220V DC24V 其余规格可作特殊订货
|
|||||
|
使用寿命
|
JB/T7352-94规定
|
|||||
|
额定流量系数 KV
|
3.8
|
7.4
|
10.3
|
18.8
|
25.7
|
41
|
|
泄漏量 ml/min
|
按JB/T7352-94.F规定
|
|||||
|
公称通径 mm
|
15
|
20
|
25
|
32
|
40
|
50
|
|
功 耗(VA)
|
50
|
90
|
||||

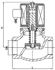
安装尺寸
|
公称通径 DN
|
内螺纹连接
|
法兰连接
|
|||||||||
|
内螺纹
|
外形尺寸
|
外形尺寸
|
法兰尺寸
|
||||||||
|
G
|
H
|
L
|
H
|
L
|
D
|
D1
|
D2
|
n-d
|
b
|
f
|
|
|
15
|
1/2″
|
148
|
92
|
176
|
130
|
95
|
65
|
46
|
4-φ14
|
14
|
2
|
|
20
|
3/4″
|
148
|
92
|
181
|
150
|
105
|
75
|
56
|
4-φ14
|
16
|
2
|
|
25
|
1″
|
148
|
110
|
210
|
160
|
115
|
85
|
65
|
4-φ14
|
16
|
3
|
|
32
|
11/4″
|
182
|
120
|
221
|
180
|
140
|
100
|
76
|
4-φ18
|
18
|
3
|
|
40
|
11/2″
|
182
|
140
|
230
|
200
|
150
|
110
|
84
|
4-φ18
|
18
|
3
|
|
50
|
2″
|
192
|
162
|
252
|
230
|
165
|
125
|
99
|
4-φ18
|
20
|
3
|




